技術領域
本實用新型涉及一種用于測量流體流量的裝置,具體涉及一種可除垢的煙氣流量測量裝置。
背景技術
火力發電廠排放的煙氣中含有大量的硫,為滿足環境保護要求,煙氣在排入大氣之前必須進行脫硫處理,即在煙氣中噴入足量的碳酸鈣溶液,而它與煙氣中的硫起反應生成亞硫酸鈣,混雜在煙氣中。在流動過程中亞硫酸鈣遇到插裝在煙氣管道中的流量測量棒時很容易附著到測量棒上形成結垢進行累積,堵塞煙氣流量測量裝置的感壓口,影響流量的準確測量。
發明內容
本實用新型的目的是提供一種可除垢的煙氣流量測量裝置,通過設置鏟刀除去附著在測量棒上的亞硫酸鈣結垢。
為達到上述目的,本實用新型的技術方案是這樣實現的:
本實用新型實施例提供一種可除垢的煙氣流量測量裝置,包括接管咀和測量棒,所述測量棒由內部的測量管和外部的保護管同軸套裝而成,且可做相對直線運動;:所述測量管和保護管之間設置有滑動定位組件:所述測量棒上設置有末端感壓囗;所述末端感壓口處設置有**鏟刀和第二鏟刀,**鏟刀固定于保護管上,其刀刃位于末端感壓口內,第二鏟刀固定于保護管其刀刃設于測量管末端外表面上:所述接管咀和測量棒之間設置有往復直線運動機構,接管咀通過往復直線運動機構中部的通孔與測量管連通:所述測量管和保護管之間靠近往復直線運動機構處設置有滑動密封裝置。所述測量管上設置有與末端感壓口位于測量棒同側的中間感壓口;所述中間感壓口處設置有第三鏟刀和第四鏟刀,第三鏟刀固定于保護管上,其刀刃位于中間感壓口內,第四鏟刀固定在測量管上且其刀刃位于保護管外表面。
所述滑動定位組件是設置于測量管上的定位鍵和保護管上的定位槽,定位鍵設置于定位槽內。
所述測量棒上設置有與中間感壓口沿管壁對稱的輔助開口。
所述輔助開口外側設置有靜壓外管蓋板和與靜壓外管蓋板固定連接的固定在測量管上且其刀刃位于保護管外表面的第五鏟刀。
本實用新型具有以下優點:
本實用新型可人為定期使用往復直線運動機構使內部測量管和外部保護管發生相對直線運動而使得末端感壓口處固定在保護管上的**鏟刀位于末端感壓口內的刀刃發生直線運動而除去末端感壓口內壁附著的亞硫酸鈣結垢,同時使得固定在保護管上的第二鏟刀位于測量管外表面的刀刃發生直線運動而除去末端感壓口外壁附近附著的亞硫酸鈣結垢:同理,內部測量管和外部保護管發生相對直線運動時,中間感壓口處固定于保護管上刀刃位于中間感壓口內的第三鏟刀發生直線運動而除去中間感壓口內壁附近附著的亞硫酸鈣結垢,固定于測量管其刀刃設于保護管外表面上的第四鏟刀發生直線運動而除去中間感壓口外壁附近附著的亞硫酸鈣結垢,與第二鏟刀對稱的第五鏟刀可與第二鏟刀相同原理而除去與中間感壓口對稱的輔助開口處外表面的亞硫酸鈣結垢,從而可對裝置感壓口進行全面除垢,防止亞硫酸鈣堵塞煙氣流量測量裝置的感壓口保證裝置正常使用。
附圖說明
圖1為實施例1的剖視圖。
圖2為實施例2的剖視圖。
圖3為實施例3的剖視圖。
圖4為本實用新型結構圖(俯視圖A)。

圖5為本實用新型結構圖(俯視圖B)。

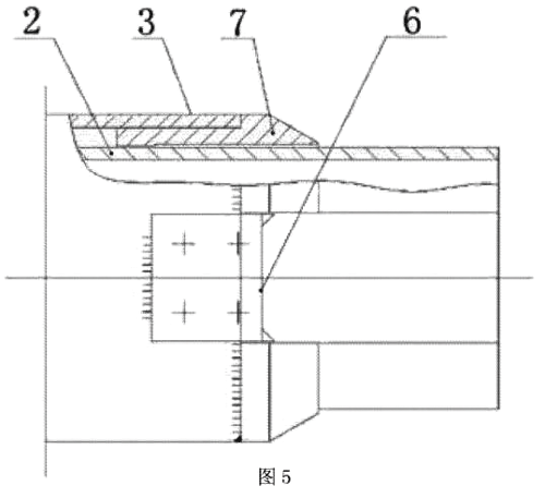
圖中,1-接管咀,2-測量管,3-保護管,4-滑動定位組件,5-末端感壓口,6-**鏟刀,7-第二鏟刀,8-往復直線運動機構,9-滑動密封裝置,10-中間感壓口,11-第三鏟刀,12-第四鏟刀,13-輔助開口,14-靜壓外管蓋板,15-第五鏟刀。
具體實施方式
下面結合具體實施方式對本實用新型進行詳細的說明。
實施例1(參見圖1和圖5),本實用新型涉及的一種可除垢的煙氣流量測量裝置,包括接管咀1和測量棒,所述測量棒由內部的測量管2和外部的保護管3同軸套裝而成,且可做相對直線運動;所述測量管2和保護管3之間設置有滑動定位組件4;所述測量棒上設置有末端感壓口5:所述末端感壓口5處設置有**鏟刀6和第二鏟刀7,**鏟刀6固定于保護管3上,其刀刃位于末端感壓口5內,第二鏟刀7固定于保護管3其刀刃設于測量管2末端外表面上;所述接管咀1和測量棒之間設置有往復直線運動機構8,接管咀1通過往復直線運動機構8中部的通孔與測量管2連通:所述測量管2和保護管3之間靠近往復直線運動機構處設置有滑動密封裝置9。實施例2(參見圖2和圖4)所述測量管2上設置有與末端感壓口5位于測量棒同側的中間感壓口10:所述中間感壓口10處設置有第三鏟刀11和第四鏟刀12,第三鏟刀11固定于保護管3上,其刀刃位于中間感壓口10內,第四鏟刀12固定在測量管2上且其刀刃位于保護管3外表面。所述滑動定位組件4是設置于測量管3上的定位鍵和保護管4上的定位槽,定位鍵設置于定位槽內。
實施例3(參見圖3),所述測量棒上設置有與中間感壓口10沿管壁對稱的輔助開口13。所述輔助開口13外側設置有靜壓外管蓋板14和與靜壓外管蓋板14固定連接的固定在測量管2上且其刀刃位于保護管3外表面的第五鏟刀15。
本實用新型所描述的測量棒,測量管2的管徑在40~110毫米,保護管3的管內徑比測量管2的管外徑大420毫米,測量管2的長度約1~6米。每個測量點的中間感壓口4開口尺寸為20*70mm60*100mm。測量棒由直徑大小不同測量管2和保護管3同軸套裝而成。裝置所設置的滑動密封裝置12,可防止被測煙氣外漏,同時可以卡在測量管2和保護管3之間,限定其相對位置,使其保持平行。測量棒內的滑動定位組件4可保證內測量管與外保護管在設定行程內作直線往復滑動。往復直線運動機構8的固定部與保護管3連接,活動部端部與測量管2連接。
本實施例中,通過法蘭盤安裝蓋將測量棒固定,則保護管3固定,測量管2可通過操作直線往復機構8進行動作。**鏟刀6的刀刃與末端感壓口5的兩內側邊相貼合,第二鏟刀7的刀刃與末端感壓口5附近外壁相貼合。在只設有末端感壓口5時,可進行單點式測量。第二鏟刀7同時可作為末端定位環,卡在測量管2和保護管3之間,限定其相對位置,使其保持平行。
第三鏟刀11的刀刃與中間感壓口10的兩內側邊相貼合,第四鏟刀12的刀刃與中間感壓口10附近外壁相貼合。同時設有中間感壓口10和末端感壓口5則為多點式測量裝置。在測量棒體上可根據需要設置多個中間感壓囗10,同時設置配套的第三鏟刀1l和第四鏟刀12,提高測量數據可靠性。
測量棒上設置有與中間感壓口10沿管壁對稱的輔助開口13,輔助開口13外側設置有靜壓外管蓋板14和與靜壓外管蓋板14固定連接的固定在測量管2上且其刀刃位于保護管3外表面的第五鏟刀15,專用于靜壓測量裝置。輔助開口13主要用來方便第五鏟刀15的安裝,靜壓外管蓋板14主要用來遮擋輔助開口13,防止雜物進入。中間感壓口10和輔助開口13以及第三鏟刀11、第四鏟刀12、靜壓外管蓋板14和第五鏟刀同時存在,可同時設置多個。總壓測量裝置和靜壓測量裝置為獨立并列式布局,兩者互不干擾,使信號強度得到提升,使其滿足在夾雜大量固態雜質時能正常使用。安裝時,總壓測量裝置的總壓測量棒,感壓口正對來流方向:而靜壓測量裝置的靜壓測量棒,感壓口方向完全相反,是背向來流方向。在使用本產品時,通過接管咀1與所需配套測量裝置相連接,即可進行煙氣流量測量可根據經驗設定相應的運行時間,操作往復直線運動機構8,將旋轉運動轉變為直線運動帶動測量棒的內部測量管作直線往復運動,而使得中間感壓口10處固定在保護管3上的第三鏟刀11位于中間感壓口10內的刀刃發生直線運動而除去中間感壓口10內附著的亞硫酸鈣結垢,同時使得固定在測量管2上的第四鏟刀12位于保護管3外表面的刀刃發生直線運動而除去中間感壓口10外壁附近附著的亞硫酸鈣結垢:同理,內部測量管2和外部保護管3發生相對直線運動時,末端感壓口5處固定于保護管3上刀刃位于末端感壓口5內的**鏟刀6發生直線運動而除去末端感壓口5內附著的亞硫酸鈣結垢,固定于保護管3其刀刃設于測量管2末端外表面上的第二鏟刀7發生直線運動而除去末端感壓口5外壁附近附著的亞硫酸鈣結垢,第五鏟刀15與第四鏟刀12相同原理除去與中間感壓口10對稱的輔助開口13的亞硫酸鈣結垢,從而可對裝置感壓口進行全面除垢,防止亞硫酸鈣堵塞煙氣流量測量裝置的感壓口,保證裝置正常使用。
本實用新型的內容不限于實施例所列舉,本領域技術人員通過閱讀本實用新型說明書而對本實用新型技術方案采取的任何等效的變換,均為本實用新型的權利要求所涵蓋。
上一條:
焦爐煤氣流量計量的應用研究
下一條:
一體化阿牛巴流量計在煤氣流量測量中的應用